Rubrik Teknologi: GM Patenkan Airbag Luar Pelindung Pejalan Kaki

Laman

Selasa, 02 Januari 2018

GM Patenkan Airbag Luar Pelindung Pejalan Kaki

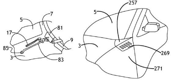
INILAHCOM, Detroit - Selama ini, airbag dimanfaatkan sebagai salah satu fitur keselamatan utama bagi penumpang di dalam mobil. Namun baru-baru ini, pabrikan otomotif AS General Motors (GM) memperoleh hak paten airbag di luar kendaraan yang dirancang untuk memberikan perlindungan kepada pejalan kaki.

Airbag tersebut merupakan inovasi terbaru guna mengatasi masalah kecelakaan melibatkan pejalan kaki yang menyumbang sekitar satu dari tujuh kematian akibat kecelakaan lalu lintas di AS.

"Airbag bagi pejalan kaki bisa menjadi solusi teknik yang penting di masa depan," kata Tom Wilkerson, juru bicara keselamatan komunikasi GM, seperti dilansir USA Today.

Masalah keselamatan memang selalu menjadi perhatian para pabrikan mobil. Daimler, perusahaan induk Mercedes-Benz, telah memiliki hak paten untuk memasang airbag pada bagian depan rangka mobil guna melindungi pejalan kaki dari hantaman keras. Volkswagen pun kabarnya tengah mendalami sistem airbag alternatif.

Sementara Volvo sudah memasang airbag untuk pejalan kaki pada model V40 dengan pendekatan teknologi yang berbeda dari GM, yaitu melindungi benturan pada area kaca depan.

Konsultan perencanaan produk otomotif dan manajer analisis desain Carlab, Maeva Ribas, menilai airbag pada kaca depan akan mengurangi dampak terparah kepada pejalan kaki yang telah tertabrak dan tubuhnya melewati kap mesin hingga menghantam kaca depan yang juga ikut membahayakan pengemudi mobil.

Pada tahun 2015, tercatat sebanyak 5.376 pejalan kaki tewas tertabrak mobil di AS dan menyumbang 15 persen dari total korban kecelakaan lalu lintas, menurut National Highway Traffic Safety Administration (NHTSA). Sebanyak 818 pesepeda juga tewas karena kecelakaan mobil.

Jumlah pejalan kaki yang tewas dalam kecelakaan lalu lintas melonjak 11 persen menjadi hampir 6.000 pada 2016, menurut sebuah laporan yang dikeluarkan lembaga nonprofit pemerhati keselamatan jalan raya Governors Highway Safety Association pada Maret 2017. Itu adalah kenaikan korban jiwa pejalan kaki terbesar dalam satu tahun yang pernah ada.

GM mengajukan dokumen lengkap kepada Kantor Hak Paten dan Merek Dagang AS (United States Patent and Trademark Office/USPTO) dengan menyertakan lusinan halaman deskripsi, aplikasi opsional dan 90 sketsa teknis, walaupun perusahaan otomotif itu tidak menyertakan cara kerja airbag tersebut akan akan mengembang, apakah menggunakan kamera atau sensor.

"Ini adalah teknologi yang menjanjikan, namun kami tidak memiliki rencana produksi secara khusus untuk saat ini," ungkap juru bicara GM, Patrick Morrissey.


GM Patenkan Airbag Luar Pelindung Pejalan Kaki Baca Berita Dari Sumber http://ift.tt/2DR916Z

Tidak ada komentar:

Posting Komentar